高溫高壓止回閥產品概述
高溫高壓止回閥是種安裝于火力發電站水、汽管道上,啟閉件借助介質作用力,自動阻止流體回流的閥門,其閥瓣呈圓盤狀,繞閥座通道外的銷軸做旋轉運動來實現閥門的開啟與關閉,當流體按規定方向流動時,閥瓣受流動介質力的作用使閥瓣打開,流體從入口側流向出口側,當入口側壓力低于出口側壓力時,流動介質要逆向流動時,閥瓣在所受流體反向作用力和閥瓣自重的作用下,與閥座的密封面自動閉合,達到阻止流體逆流的目的。該閥閥體中腔通常采用內壓自密封結構,它利用介質的壓力,使閥體與閥蓋連接處實現自動密封。本產品閥內通道成流線型,流動阻力相比較小,特適合用在高壓大口徑的管道,因此被廣泛應用于火電廠主給水管道,防止介質倒流,對保護水泵等主機設備起著相當重要的作用。
高溫高壓止回閥部件材料
| 序號 | 部件名稱 | 材料名稱 | |||||
| 1 | 閥 體 | A217 WC6 | A217 WC9 | A217 C12A | ZG20CrMoV | ZG15Cr1Mo1V | 12Cr1MoV |
| 2 | 閥 座 | A182 F11 | A182 F22 | A182 F91 | 12Cr1MoV | 15Cr1Mo1V | 12Cr1MoV |
| 3 | 閥 瓣 | A217 WC6 | A217 WC9 | A217 C12A | ZG20CrMoV | ZG15Cr1Mo1V | 12Cr1MoV |
| 4 | 搖 桿 | A217 WC6 | A217 WC9 | A217 C12A | ZG20CrMoV | ZG15Cr1Mo1V | 12Cr1MoV |
| 5 | 銷 軸 | A182 F11 | A182 F22 | A182 F91 | 12Cr1MoV | 15Cr1Mo1V | 12Cr1MoV |
| 6 | 閥 蓋 | A217 WC6 | A217 WC9 | A217 C12A | ZG20CrMoV | ZG15Cr1Mo1V | 12Cr1MoV |
| 7 | 密 封 圈 | GRAPHITE | GRAPHITE | GRAPHITE | GRAPHITE | GRAPHITE | GRAPHITE |
| 8 | 螺 栓 | A193 B16 | A193 B16 | A193 B16 | 25Cr2Mo1VA | 25Cr2Mo1VA | 25Cr2Mo1VA |
| 9 | 螺 母 | A194 16 | A194 16 | A194 16 | 25Cr2Mo1VA | 25Cr2Mo1VA | 25Cr2Mo1VA |
高溫高壓止回閥性能規范
| 公稱壓力PN(MPa) | 20.0 | 25.0 | 32.0 | — | — | — |
| 工作壓力(MPa) | — | — | — | 10.0 | 14.0 | 17.0 |
| 工作溫度(℃) | — | — | — | 540 | 540 | 540 |
| 水壓強度試驗壓力(MPa) | 30.0 | 37.5 | 48.0 | 30.0 | 40.0 | 48.0 |
| 水壓密封試驗壓力(MPa) | 20.0 | 25.0 | 32.0 | 12.5 | 17.5 | 21.3 |
| 氣密封試驗壓力(MPa) | 0.4~0.7 | 0.4~0.7 | 0.4~0.7 | 0.4~0.7 | 0.4~0.7 | 0.4~0.7 |
| 設計制造 | NB/T 47044、ASME B16.34、JIS E-101 | |||||
| 結構長度 | GB/T 12221、ASME B16.10、JIS E-101 | |||||
| 連接端部 | NB/T 47044、ASME B16.25或按訂貨合同要求 | |||||
| 檢驗試驗 | NB/T 47044、API 598、JIS E-101 | |||||
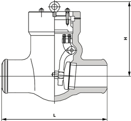
高溫高壓止回閥主要尺寸
| 公稱壓力 PN | 公稱尺寸 DN | 外形尺寸/mm | 公稱壓力 PN | 公稱尺寸 DN | 外形尺寸/mm | ||
| L | H | L | H | ||||
| 200 ~ 320 | 65 | 330 | 223 | 200 ~ 320 | 225 | 750 | 445 |
| 80 | 368 | 249 | 250 | 800 | 502 | ||
| 100 | 457 | 279 | 300 | 1041 | 550 | ||
| 125 | 483 | 284 | 350 | 1118 | 707 | ||
| 150 | 559 | 350 | 400 | 1245 | 734 | ||
| 175 | 600 | 366 | 500 | 1397 | 997 | ||
| 200 | 650 | 414 | 600 | 1459 | 1000 | ||
| 表中未列出的其他規格參數,請咨詢汗越閥門技術部! | |||||||
高溫高壓止回閥結構圖


