Y型電動刷式自清洗過濾器產品概述
Y型電動刷式自清洗過濾器是一種通過殼體內裝置的不銹鋼濾網把水流中的固體懸浮物截留在其表面而把它從水中分離出來,并具有自動沖洗及排污功能的濾水器。當進出口的壓差達到預設值或設定時間、手動預制時,電控箱發出信號驅動電力馬達帶動安裝在濾筒內的清洗組件旋轉,同時電動執行機構自動打開位于殼蓋上的排污閥,吸附在濾網上的堵塞物被轉動的刷子刷下,并隨水流經排污閥排出,當恢復正常時,電機停止運轉,電動排污閥延時關閉,整個過程全自動運行,沖洗時系統可正常運行,介質不斷流,不間斷過濾功能。本產品自潔沖洗方式采用內刷式,可實現在線不停機自動清洗和排污,其控制方式有壓差、時間及手動三種,自動和就地手動控制能夠切換使用。
Y型電動刷式自清洗過濾器部件材料
| 序號 | 部件名稱 | 材料名稱 | |||||
| 1 | 殼 體 | Q235B | 20# | 304 | 304L | 316 | 316L |
| 2 | 法 蘭 | Q235B | Q235B | 304 | 304L | 316 | 316L |
| 3 | 濾 網 | 304 | 304 | 304 | 304L | 316 | 316L |
| 4 | 密 封 件 | NBR、EPDM、PKM、PTFE、GRAPHITE | |||||
| 5 | 法 蘭 蓋 | Q235B | Q235B | 304 | 304L | 316 | 316L |
| 6 | 減速電機 | 組合件 | 組合件 | 組合件 | 組合件 | 組合件 | 組合件 |
| 7 | 轉 動 軸 | Q235B | Q235B | 304 | 304L | 316 | 316L |
| 8 | 清 洗 刷 | 不銹鋼、尼龍、豬鬃毛、硬質塑料纖維 | |||||
| 9 | 控 制 箱 | 組合件 | 組合件 | 組合件 | 組合件 | 組合件 | 組合件 |
| 10 | 排 污 閥 | CF8 | CF8 | CF8 | CF3 | CF8M | CF3M |
| 11 | 壓差開關 | 組合件 | 組合件 | 組合件 | 組合件 | 組合件 | 組合件 |
Y型電動刷式自清洗過濾器性能規范
| 公稱壓力PN(MPa) | 1.0 | 1.6 | 2.5 | 4.0 | 2.0 | 5.0 |
| 殼體強度試驗壓力(MPa) | 1.5 | 2.4 | 3.75 | 6.0 | 3.0 | 7.5 |
| 氣密性試驗壓力(MPa) | 1.0 | 1.6 | 2.5 | 4.0 | 2.0 | 5.0 |
| 設計制造 | GB/T 14382-2008、SH/T 3411-2017、HG/T 21637-2021 | |||||
| 連接法蘭 | JB/T 81、GB/T 9119、HG/T 20592、HG/T 20615、SH/T 3406、ASME B16.5等 | |||||
| 檢驗試驗 | GB/T 14382-2008、SH/T 3411-2017、HG/T 21637-2021 | |||||
| 過濾精度 | 80μm ~ 5000μm | |||||
| 控制方式 | 壓差、時間及手動 | |||||
| 清洗時間 | 10s ~ 60s | |||||
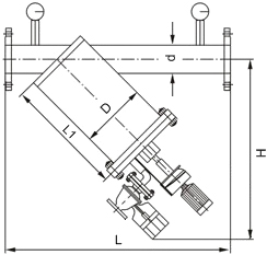
Y型電動刷式自清洗過濾器主要尺寸
| 公稱壓力 PN | 公稱通徑 DN | 結構尺寸/mm | 排污口尺寸 DN | 流量 t/h | |||
| d | D | L | L1 | ||||
| 10 ~ 25 20 (Class150) | 50 | 57 | 159 | 600 | 300 | 20 | ≤19 |
| 65 | 76 | 159 | 600 | 300 | 20 | ≤28 | |
| 80 | 89 | 159 | 600 | 300 | 20 | ≤50 | |
| 100 | 108 | 219 | 700 | 300 | 20 | ≤80 | |
| 125 | 133 | 219 | 750 | 340 | 25 | ≤125 | |
| 150 | 159 | 273 | 900 | 350 | 32 | ≤180 | |
| 200 | 219 | 325 | 950 | 525 | 32 | ≤320 | |
| 250 | 273 | 406 | 1140 | 650 | 40 | ≤490 | |
| 300 | 325 | 406 | 1190 | 680 | 40 | ≤710 | |
| 350 | 377 | 457 | 1290 | 740 | 50 | ≤970 | |
| 表中未列出的其他規格參數,請咨詢汗越閥門技術部! | |||||||
Y型電動刷式自清洗過濾器結構圖


